微软为带有 Surface 支架的可折叠手机申请了专利。它看起来像一部便携式 Windows 11 手机
2025 年 4 月 23 日,微软向美国专利商标局提交了一项名为“KICKSTAND FOR OPENING FOLDABLE COMPUTING DEVICE”的可折叠设备专利。与之前的专利不同,这项专利特别有趣,因为它展示了一款带有 Surface Pro 支架的可折叠手机,而且该专利是最近提交的。其他专利通常已有五年。
正如 Windows Last、USPTO 首次发现的发表该专利于 2025 年 8 月 7 日发布,但本周末才对所有人生效。我从昨天开始读了这份长达37页的文件,终于有了一些想法可以分享。
专利图|图片来源:UPSTO
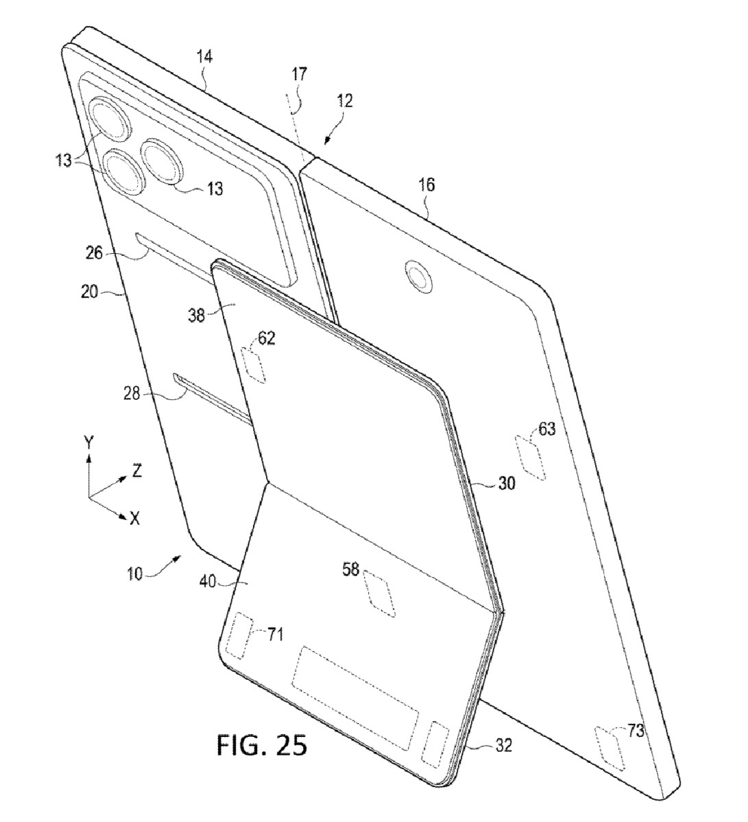
微软表示,它可以构建第一框架(第一屏幕),该框架可以耦合到第二框架(第二屏幕)。第二个框架将容纳支架。支架是 Surface Pro 系列中最独特的功能之一。它为二合一或台式电脑提供了支架,因此您可以将其用作便携式笔记本电脑甚至 PC。
专利图|图片来源:UPSTO
微软正在探索可折叠手机的类似用例。这个想法是让可折叠手机立在桌子上,这样你就可以连接鼠标或键盘,随时随地继续工作,获得真正的 PC 般的体验。这与 Surface 的愿景非常一致,但我不确定在当前的领导下这是否仍然成立。
专利图|图片来源:UPSTO
Windows Late 发现该专利设备采用了巧妙的铰链技术和可选的辅助装置(弹簧柱塞或微型电动闩锁)。打开后,另一对磁铁可以使设备保持打开状态以保持稳定性。
这个想法是允许单手打开可折叠的,这本身就是一个独特的功能。第二个框架背面有一个支架,为在桌子上阅读、视频或通话提供了坚实的基础(与 Microsoft 365 目标一致)。专利中的所有内容都告诉我,如果微软推出它,它最终可能会成为出色的硬件。
现在,我们来谈谈支架的实际工作原理。根据专利申请中的设计细节,微软为支架创建了一个上板。这是你的拇指推动的部分。然后是下板,它铰接到上板,当支架打开时,它就成为“腿”。
支架使用各种磁铁从睡眠(关闭状态)平稳过渡到打开(站立状态)。您可能想知道像上图中这样薄的铰链实际上如何能够提供牢固的支撑。在阅读文档时,我注意到磁铁可以让滑块将整个支架组件移向设备的铰链线。
更多阅读:便携式 DVD 播放器列表
当这种情况发生时,支架最终会居中,并利用设备的质量。这是一个物理概念(“静态稳定性”),但为了简单起见,作为消费者,这种实现为您提供了稳定、适合办公桌的姿势。
我还制作了 CAD 渲染图,可以让您更好地了解该设备:
图片来源:WindowsLatest.com
微软解释了为什么带有支架的可折叠手机比当前的可折叠手机(例如 Galaxy Fold)更好。
现在,让我们来看看专利申请中最有趣的部分。微软表示,可折叠手机已经问世多年,它们通常包括两个通过铰链旋转的框架(屏幕)。例如 Galaxy Fold、Flip 甚至微软的 Surface Duo。
对于 Surface Duo,您可以将设备旋转 180 度,有些设备还提供 360 度旋转。微软认为,这些设备确实符合炫酷的外形,但往往无法满足消费者的期望。
例如,您可能希望将可折叠手机以特定角度放置并阅读书籍或观看电影并享受额外的屏幕空间。微软相信薄型支架最终将解决这些用例
“本公开的支架组件使用户能够在部署支架时轻松地从关闭方向打开设备,”微软在 Windows Latest 首次发现的专利中指出。
“此外,在一些示例中,当两个框架转变为打开配置时,磁铁可释放地将第一框架和第二框架固定在打开配置中,从而将两个框架稳定在该位置,”该专利写道。
你怎么认为?如果运行 Windows 11,您会购买带有支架的 Surface 可折叠设备吗?请在下面的评论中告诉我。
WL通讯
WL通讯!
获取最新的 Windows 和计算新闻,了解系统管理员的变化,并了解 AI 如何改变 Windows!每日新闻综述、每周人工智能综述等等。加入 50,000 名订阅者!
姓名电子邮件免费加入
