微軟為帶有 Surface 支架的可折疊手機申請了專利。它看起來像一部便攜式 Windows 11 手機
2025 年 4 月 23 日,微軟向美國專利商標局提交了一項名為“KICKSTAND FOR OPENING FOLDABLE COMPUTING DEVICE”的可折疊設備專利。與之前的專利不同,這項專利特別有趣,因為它展示了一款帶有 Surface Pro 支架的可折疊手機,而且該專利是最近提交的。其他專利通常已有五年。
正如 Windows Last、USPTO 首次發現的發表該專利於 2025 年 8 月 7 日發布,但本週末才對所有人生效。我從昨天開始讀了這份長達37頁的文件,終於有了一些想法可以分享。
專利圖|圖片來源:UPSTO
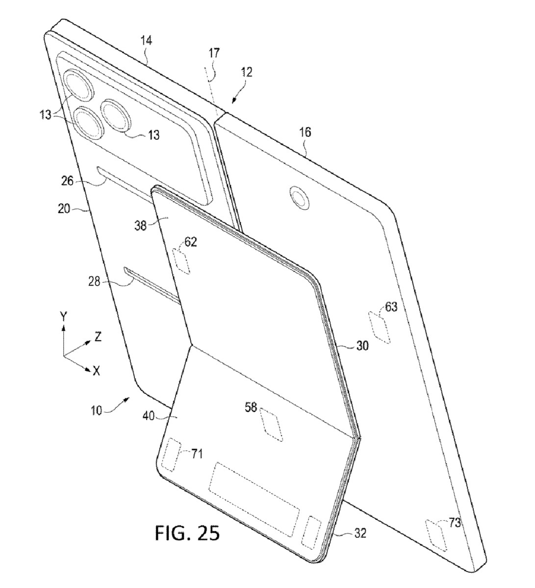
微軟表示,它可以構建第一框架(第一屏幕),該框架可以耦合到第二框架(第二屏幕)。第二個框架將容納支架。支架是 Surface Pro 系列中最獨特的功能之一。它為二合一或台式電腦提供了支架,因此您可以將其用作便攜式筆記本電腦甚至 PC。
專利圖|圖片來源:UPSTO
微軟正在探索可折疊手機的類似用例。這個想法是讓可折疊手機立在桌子上,這樣你就可以連接鼠標或鍵盤,隨時隨地繼續工作,獲得真正的 PC 般的體驗。這與 Surface 的願景非常一致,但我不確定在當前的領導下這是否仍然成立。
專利圖|圖片來源:UPSTO
Windows Late 發現該專利設備採用了巧妙的鉸鏈技術和可選的輔助裝置(彈簧柱塞或微型電動閂鎖)。打開後,另一對磁鐵可以使設備保持打開狀態以保持穩定性。
這個想法是允許單手打開可折疊的,這本身就是一個獨特的功能。第二個框架背面有一個支架,為在桌子上閱讀、視頻或通話提供了堅實的基礎(與 Microsoft 365 目標一致)。專利中的所有內容都告訴我,如果微軟推出它,它最終可能會成為出色的硬件。
現在,我們來談談支架的實際工作原理。根據專利申請中的設計細節,微軟為支架創建了一個上板。這是你的拇指推動的部分。然後是下板,它鉸接到上板,當支架打開時,它就成為“腿”。
支架使用各種磁鐵從睡眠(關閉狀態)平穩過渡到打開(站立狀態)。您可能想知道像上圖中這樣薄的鉸鏈實際上如何能夠提供牢固的支撐。在閱讀文檔時,我注意到磁鐵可以讓滑塊將整個支架組件移向設備的鉸鏈線。
更多閱讀:便攜式 DVD 播放器列表
當這種情況發生時,支架最終會居中,並利用設備的質量。這是一個物理概念(“靜態穩定性”),但為了簡單起見,作為消費者,這種實現為您提供了穩定、適合辦公桌的姿勢。
我還製作了 CAD 渲染圖,可以讓您更好地了解該設備:
圖片來源:WindowsLatest.com
微軟解釋了為什麼帶有支架的可折疊手機比當前的可折疊手機(例如 Galaxy Fold)更好。
現在,讓我們來看看專利申請中最有趣的部分。微軟表示,可折疊手機已經問世多年,它們通常包括兩個通過鉸鏈旋轉的框架(屏幕)。例如 Galaxy Fold、Flip 甚至微軟的 Surface Duo。
對於 Surface Duo,您可以將設備旋轉 180 度,有些設備還提供 360 度旋轉。微軟認為,這些設備確實符合炫酷的外形,但往往無法滿足消費者的期望。
例如,您可能希望將可折疊手機以特定角度放置並閱讀書籍或觀看電影並享受額外的屏幕空間。微軟相信薄型支架最終將解決這些用例
“本公開的支架組件使用戶能夠在部署支架時輕鬆地從關閉方向打開設備,”微軟在 Windows Latest 首次發現的專利中指出。
“此外,在一些示例中,當兩個框架轉變為打開配置時,磁鐵可釋放地將第一框架和第二框架固定在打開配置中,從而將兩個框架穩定在該位置,”該專利寫道。
你怎麼認為?如果運行 Windows 11,您會購買帶有支架的 Surface 可折疊設備嗎?請在下面的評論中告訴我。
WL通訊
WL通訊!
獲取最新的 Windows 和計算新聞,了解系統管理員的變化,並了解 AI 如何改變 Windows!每日新聞綜述、每週人工智能綜述等等。加入 50,000 名訂閱者!
姓名電子郵件免費加入
