微軟為 Surface Laptop 申請專利的“聲波”觸控板可能會挑戰蘋果 MacBook 的 Force Touch
Windows 11 現在正在測試基本 UI 操作的小型觸覺(振動)效果,但僅限於帶有觸覺觸控板或鼠標的設備。這讓我們感到好奇。微軟是否也在開發新硬件(也許是下一代 Surface)來正確地展示這一點?我查了一下美國專利商標局,發現了一項指向這個方向的新專利。它描述了一種帶有“觸覺聲波”觸控板的設備。
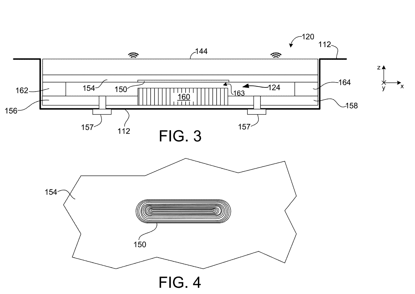
一項名為“帶有觸覺觸控板的計算設備”的新專利申請展示了帶有新型聲音觸覺觸控板的類似 Surface 筆記本電腦的設備,但微軟堅稱這項新技術不僅僅適用於筆記本電腦。例如,Windows Last 發現了帶有觸覺觸控板的“可折疊”計算設備的參考資料。

微軟如何在可折疊設備上使用新的聲波觸覺觸摸板還是個謎,但我們知道它將如何在普通筆記本電腦上工作。
什麼是觸覺觸控板或鼠標?
傳統上,當您按下表面進行單擊或右鍵單擊時,筆記本電腦的觸控板也會物理下壓。然而,觸覺觸控板並沒有物理按下。相反,旗艦筆記本電腦使用觸覺反饋電機在觸控板表面的任何位置提供“點擊”感覺。
我用過各種筆記本電腦,而帶有觸覺觸控板的筆記本電腦是我的最愛。如果您使用觸覺觸控板,您將永遠不會切換回傳統觸控板,這與 MacBook 的高級 Force Touch 觸控板功能非常相似。
到目前為止,Windows 11 的觸覺工作大多很簡單。您會感受到點擊、點擊以及觸覺觸控板或鼠標上的 UI 操作的輕微振動。
該專利中的新技術是不同的。正如 Windows Last 首次發現的那樣,它描述了一種“觸覺聲波”觸控板,它不僅會振動,而且還可以使用筆記本電腦的麥克風聆聽自己的聲音。該系統將每次點擊的聲音與“完美”參考進行比較,然後自動調整振動,使觸控板始終感覺和聽起來正確,即使硬件老化或底盤發生變化。
Windows Late 發現微軟希望使用筆記本電腦的麥克風作為傳感器,在觸覺觸發時監聽觸控板的聲音。

當您觸摸觸控板時,它會使用觸覺電機產生聲音,並且麥克風會記錄該聲音輸出。然後,Windows 11 或固件會將其與“目標”聲音進行比較。這意味著該設備將附帶存儲的參考聲音,並且比較將告訴我們一個健康、完美調諧的觸控板應該如何聽起來或感覺。
如果 Windows 根據麥克風分析的聲音輸出認為觸控板並未真正提供最佳體驗,它將嘗試調整硬件並讓觸覺觸控板表現更好。
現在,如果固件檢測到您點擊觸控板時產生的“聲音”在某些方面是“錯誤的”,它可以確定觸覺執行器出現故障或降級,然後它將回落到揚聲器。這是一個非常有趣的想法,甚至在您播放視頻或音頻時它也會起作用。
基本上,如果觸控板沒有振動並發出“咔噠”聲,筆記本電腦的內置揚聲器就會出現問題。
這項專利正在推動一個方向,即在與基於 UI 的操作交互時,可以使用麥克風和揚聲器來為觸控板的聲音提供動力,而且我們還沒有看到 Apple 或任何公司公開發布過如此有趣的東西。
了解更多:微軟為帶有 Surface 支架的可折疊手機申請了專利。它看起來像一部便攜式 Windows 11 手機
支持獨立博客
WL通訊
WL通訊!
掌握最新的 Windows、IT 和 AI 更新。受到 50,000 多名訂閱者的信賴。
姓名電子郵件免費加入
